All Departments |
|
-
824MHz-960MHz Antenna
GSM,ISMNLOS,RFID,900MHz,800MHz
- 1.71GHz-1.88GHz Antenna
DCS1800,GSM1800,1.8GHz,2G
- 1.85GHz-1.99GHz Antenna
PCS1900,GSM1900,1.9GHz
- 1.9GHz-2.17GHz Antenna
PCS2000,GSM2000,3G
- 2.0GHz-2.1GHz Antenna
- 2.2GHz-2.3GHz Antenna
- 2.3GHz-2.4GHz Antenna
Wibro,OFDMA,WiMAX,802.16d,2.3GHz
- 2.4GHz-2.5GHz Antenna
WiFi,802.11b/g/n,RFID,2.4GHz
- 2.5GHz-2.7GHz Antenna
MMSD,802.16,WiMAX,NLOS,2.6GHz
- 3.3GHz-3.8GHz Antenna
802.16e,WiMAX,SOFDMA,3.5GHz
- 5.2GHz-5.4GHz Antenna
802.11a,5.3GHz,WiMax,WiFi
- 5.4GHz-5.7GHz Antenna
802.11a,5.4GHz,Compatible,WiMAX
- 5.7GHz-5.9GHz Antenna
802.11a,5.4GHz,Compatible,WiMAX
- 5.1GHz-5.9GHz Antenna
802.11a,WiMax,5.2GHz,5.8GHz
- Wireless Accessory
- Arrester
- Wlan Tool
|
| |
 |
Tel: +886-6-2020062
Fax: +886-6-2013882
E-mail: sales@hwayaotek.com.tw
Add: No.3, Aly. 2, Ln. 279, Zhongzheng Rd.,Yongkang Dist, Tainan City 710,Taiwan (R.O.C.) |
|
|
 |
|
| You Are Here: Home > 2.0GHz-2.1GHz Antenna > Directional Panel WLAN Antenna |
| |
Taiwan Wireless antenna/wifi Antenna/Antenna2.4ghz 5.8ghz Dual Band DVB-T Wlan Antenna/RFconnector/Cable Asseccblies/Antenna Accessoriess
PANEL Antenna II 1.71~2.17GHz 14dBi
for N FEMALE |
| |
 |
| |
| Applications: |
- 1.71GHz-2.17GHz 14dBi ISM Band
- DCS1800 GSM1800 1.8GHz 2G
- PCS1900 GSM1900 1.9GHz
- PCS2000 GSM2000 3G 3.5G
- WiFi, CDMA, RFID, GSM
- Directional and multipoint applications
- Public Wireless Hotspot
- Wireless Video Systems
|
|
| Features : |
- Superior Performance
- The Weight is light
- Good appearance designs
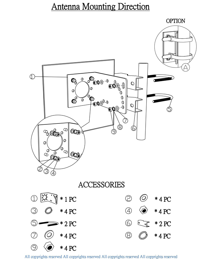
- Optional Mounting Kits available
- Installed for vertical or horizontal polarization
- Heavy Duty monuting
- RoHS Compliant
|
|
| |
 |
PAII-1721-14N-F |
|
| |
| SPECIFICATIONS: |
| Applications: |
| Frequency Range |
1.71~2.17GHz |
| V.S.W.R |
≤1.5 |
| Return Loss |
≥-14db |
| Antenna Type |
PCB patch |
| Gain |
14dBi |
| Polarization |
Vertical or Horizontal |
| Maximum Power |
50W |
| Vertical Beam-with |
20° |
| Horizontal Beam-with |
20° |
| Impedance |
50Ω |
| Connector |
N-Female |
|
|
|
| Mechanical Specifications: |
Size
|
L240 x W240 x D35mm |
| Weight |
774.5g |
| Wind Survival |
N/A |
| Radome Material |
ABS + UV resistance |
| Operating Temperature |
-40℃ to +80℃ |
| Clamps |
Multiple options |
| Mounting |
Multiple options |
| RoHS Compliant |
YES |
|
|
|
| |
 |
| |
|
|